组装和安装工作必须要由经过培训、素质合格的人员谨慎地进行;
制造厂家对于不正确的组装和安装所造成的任何损伤概不负责;
在进行规划的阶段就应该给减速机留出足够的空间以备今后进行维护保养和修理作;
在开始进行组装和安装工作之前一定要准备好合适的起重设备;
如果减速器(电机)上配备了风扇,则应该有足够的空间以便能够吸入空气;
传动装置铭牌上的说明与现场电源相符;
传动装置应是完好无损的(在运输或贮存过程中未损坏);
确认下列要求已经满足:
对标准减速器:环境温度0°C~+40°C
无油、酸、有害气体、蒸汽、放射性物体等;
对特殊型式:传动装置是依据环境条件配置的;
对蜗轮蜗杆减速器:不能对具有自锁功能的减速器施加过大的逆向外部惯性矩,以免损坏减速器;
为了保证良好的润滑,一定要遵守订单中所规定的安装位置;
务必注意减速器(电机)的警告和安全提示牌。

用可购买到的溶剂彻底清除输出轴和法兰表面的防腐剂、污物或类似物等;
注意:不要使溶剂浸入到油封的密封唇上,否则溶剂可能会损坏油封;
如果减速器贮存1年以上,轴承中润滑剂的使用寿命将缩短;
如果加注的是矿物油或合成油(CLPHC),且加油量与安装位置的要求相符,在这种情况下减速器随时可以运行。但是,在起动前仍然要检查油位;
在某些情况下加注的是合成油(CLPPG),油位较高一些,起动前应修正油位。
减速器(电机)只能按规定的安装位置安装在平的、减震的、抗扭的支撑结构上;箱体底脚与安装法兰在安装过程中不能同时拧紧以免相互较劲;
当使用螺栓或地基块将减速器(电机)固定在其混凝土的基础上时,应该有合适的凹槽容纳减速器(电机);
在安装时请检查注油量与安装位置是否相符,如果安装位置发生变化,请相应调整油量;
安装直通式通气器或打开通气器运输橡胶圈;
不要撞击和敲击轴端;
电机的垂直安装方式要有遮蔽措施来防止异物或者液体侵入(防雨罩C);
安装接线盒时,要让电缆进线口指向下方。
在减速机的轴上安装并固定输入和输出驱动零件(例如联轴器的零部件等);
如果这些零部件在安装之前需预先加热,则有关正确的配合温度,可参见联轴器文件中的尺寸图;
轴器的不对中性有可能是组装造成的,也可能是实际操作造成的(例如热膨胀、轴的挠度、机架的刚度不足等等);
联轴器许可的对中误差请参见相应品牌联轴器的说明书;

对中应该在相互垂直的两个轴向平面中进行。可以使用直尺(径向不对中)和塞尺(角度不对中)进行对中;
除非另有规定,否则这些零部件就可以用感应加热的方法预热,也可以用烧嘴或者在加热炉内预热。
工作机实心轴轴端应该配备符合DIN6885标准第一部分A型平键,并应该在其端面上有符合DIN标准322 DS型(有螺纹)的中心孔;
检查减速机空心轴和工作机实心轴是否有轴座和边缘部分的损坏;如果有必要的话,要用合适的工具进行修理并清理干净;
用螺母和螺杆安装减速机,其反作用力是靠减速机空心轴提供的;


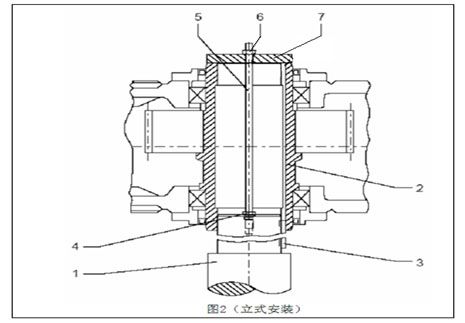
除了在图1和图2中所示的螺母和螺杆以外,还可以使用其它类型的装置例如可以使用一套液压提升装置。
工作机实心轴端面上应该配备符合DIN标准322 DS型(有螺纹)的中心孔;
用整体式的衬套进行安装;
用螺母和螺杆安装减速机;反作用力是靠减速机空心轴提供的;
用宽松的衬套进行安装;
将宽松的衬套推到工作机实心轴上,要用一个定位装置将其牢固地固定在位,然后沿着工作机实心轴将其拉入减速机的空心轴(参考图1、图2);
减速机空心轴的外表面可以在收缩盘座的位置上添加润滑脂;
按照顺序逐个拧紧所有的紧固螺栓,要经过几个轮回将所有的螺栓拧紧;
拧紧紧固螺栓直至内环和外环的前侧面对齐为止。
聚威拥有大量现场服务人员,他们可以为客户管理现场服务任务的创建、分派、执行、协作、服务资源等内容,使项目能够顺利完成。我们提供成熟、高可靠性专业的技术,丰富经验让我们意识到预防性维护和预防性支持方面的投资可进一步优化生产力,降低运营成本,最大化设备利用率。